
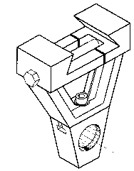
Right Angle Arbor Support for Vertical Milling Machine - Model #HR-OUT-BR-50
Item #: RL38HROUT50
Manufacturer: H & R
Mfg #: HR-OUT-BR-
Technical Specifications:
•Brand Name: H & R •Class: Milling Machine Accessories •Dimension A: 50° •Dimension B: 3.730 •Dimension C: 5.20 •Dimension D: 1.14 •For Use With: Bridgeport •Model Number: HR-OUT-BR-50 •Type: Right Angle Arbor Support for Vertical Milling Machine
Description:
•Convert your Vertical Mill to a Horizontal Mill with a Right Angle Drive and Arbor Support •Heavy cast iron machine arbor support •Single Bolt Clamp •"T" Slot for centering and alignment •Chip Guard
Shipping Info:
•Actual Weight - 21.0000
2% Off All Online Orders
Use Code: 2%OFF
Best Price Guarantee - Email Us A Better Published Price and We'll Beat It